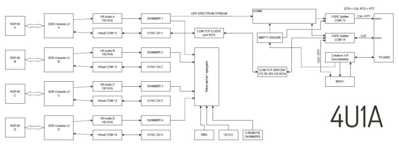
This new four-HF-band CW skimmer configuration enables operators to comprehensively assess band conditions and select the best possible operating parameters during contest operations.
This new four-HF-band CW skimmer configuration enables operators to comprehensively assess band conditions and select the best possible operating parameters during contest operations.